Фундаментные болты выполняются по ГОСТу 24379.1-2012 «Болты фундаментные. Конструкция и размеры».
Фундаментные болты предназначены для крепления и фиксации строительных конструкций или оборудования. Болты бывают шести типов, каждый тип подразделяется на несколько исполнений болтов:

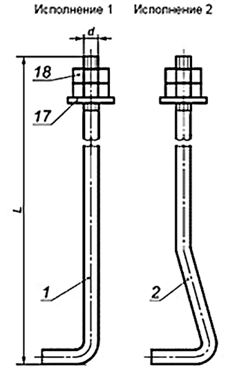
Тип 1. Изогнутые болты.
Болты первого типа применяются для фиксации строительных конструкций и иного оборудования к основанию из железобетона. В комплект болтов первого типа входит: Шпилька, 2 гайки и 1 шайба.

Тип 2. Фундаментные болты с анкерной плитой.
Чаще всего используются для крепления элементов к конструкциям из железобетона, в боковых соединениях.
Комплектность таких болтов составляет – 1 шпилька, 4 гайки, 1 шайба и 1 анкерная плита.

Тип 3. Составные болты.
Этот тип болтов используется при необходимости монтажа оборудования с поворотом или с надвижной конструкцией на фундамент, а так же, как закладная деталь в конструкциях из железобетона для создания надёжной фиксации оборудования на фундаменте.

Тип 4. Съемные болты.
Применяется для фиксации строительных конструкций и другого оборудования, отличительная особенность такого типа болтов состоит в том, что они фиксируются с помощью закладных плит.

Тип 5. Прямые болты.
Пожалуй, самые простые в применении и производстве из всех типов фундаментных болтов.
Используются для закрепления конструкций из металла или другого оборудования.

Тип 6.Болты с коническим концом.
Представляют собой стержень с резьбовой частью, на одном конце и специальное крепление, а другом.
Применяются для крепления строительных конструкций на фундаменте.
Помимо российских нормативных документов, наша компания поставляет болты, изготовленные по зарубежным стандартам DIN и ISO. Возможно изготовление болтов других диаметров и из других марок стали, а также по чертежам и эскизам заказчика (нестандартные болты).
Вся продукция сопровождается техническим паспортом и сертификатом на металл. Условия по доставке обсуждаются индивидуально. Срок изготовления зависит от объема.
Компания ООО «Партнёр» всегда готова изготовить и поставить металлические крепежные изделия в любом масштабе и по доступным ценам.
Мы гарантируем качественное исполнение, точно в срок!