Фундаментные болты – изделия, от которых зависит точность установки тяжелого оборудования, а также долговечность анкеровки конструкций. Поэтому так актуальна их разработка под заказ, что позволяет учитывать потребности конкретного проекта. Далее подробно рассмотрены сроки таких работ, а также их особенности.

Особенности изготовления под заказ
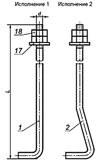
Стандарт, регламентирующий конструкцию, размеры и комплектность – ГОСТ 24379.1 (редакции 1980/2012). В нем заданы типы болтов, исполнения, требования к анкерным плитам, шпилькам и комплекту. В соответствии с ним формируется следующая технологическая цепочка изготовления:
- Формирование технического задания и утверждение чертежа. Выбор типа болтов, диаметра, длины, материала, покрытия.
- Закупка или выделение металлического прутка/штанги требуемого класса стали. Это основа будущего метиза.
- Механическая обработка. Проводится резка на заготовки, гибка, горячая ковка/штамповка плит, сварка.
- Нарезка резьбы. Она представлена в нескольких видах под определенные проекты.
- Термообработка. Проводится при необходимости для высокопрочных марок.
- Поверхностная защита. Это горячее оцинкование, электрооцинковка, окраска, пассивация.
- Контроль качества. На данном этапе проверяются размеры, резьба, прочность, покрытие, комплектность.
- Упаковка, маркировка, отгрузка. Последний этап работы предприятия с заказом.
Каждый этап имеет собственное время и потенциальные узкие места. Например, длительная отгрузка на оцинковку задерживает всю партию, что способно увеличить сроки выполнения работы.
Факторы, определяющие сроки
От чего зависит длительность выполнения заказа:
- Объем партии. Чем больше количество – тем выше экономическая эффективность серийного производства. От этого зависит длительность подготовки, а также время изготовления каждой единицы. Для мелких партий срок часто не зависит от количества, а от переналадки.
- Сложность конструкции и тип болта. Он бывает прямой, с анкерной плитой, с распорной втулкой, с крюком. Более сложные детали требуют сварки и дополнительной механической обработки.
- Диаметр и длина шпильки. Крупногабаритные болты требуют нестандартного оборудования, иногда производства специальных плит.
- Требования к материалу. Заказ на малоизвестные марки, например, 09Г2С, 40Х приведет к задержке при отсутствии складских заготовок.
- Наличие покрытия. Горячее цинкование добавит 2-5 дней в зависимости от загрузки цинкового полигона.
- Наличие требований по испытаниям и документам. Оформление бумаг, в том числе протоколов испытаний, аттестатов и сертификатов, занимает отдельно время.
- Сезонность и загрузка завода. Летом и перед строительным сезоном сроки увеличиваются из-за пикового спроса.
- Логистика и удаленность заказчика от производства. Время на доставку может превысить время изготовления.
Факторов достаточно много, поэтому часто при формировании заказа указываются сроки с небольшим запасом.

Типичные сроки на практике
Производители в РФ указывают следующие ориентиры по срокам выполнения заказов:
- Срочные серийные партии и типовые позиции – от 1 рабочего дня, чаще всего небольшие партии выполняются до 2-5 дней в стандартном режиме.
- При массовом выпуске заводы показывают пропускную способность порядка 1000 шт/день для типовых позиций. Важно наличие исходных компонентов.
- Сложные изделия с анкерными плитами, термообработкой и горячим цинкованием – от 7 до 14 дней и более, в зависимости от загрузки внешних сервисов.
Эти данные служат ориентиром, ведь для точного срока требуется запрос с чертежом и спецификацией.
Пример расчета
Пример для партии 100 шт:
- согласование техзадания, подготовка производства – 1 рабочий день;
- доставка материала со склада – немедленно, но при необходимости закупа – 2-5 дней;
- механическая обработка и сварка плит – 1-3 дня;
- нарезка резьбы, сборка комплекта – 1 день;
- горячее цинкование – 2-5 дней;
- контроль, упаковка, оформление документов – 1 день.
Итого ориентировочно 7-16 рабочих дней при отсутствии непредвиденных обстоятельств.
Как заказчику сократить сроки
Оптимизация заказа уменьшит время исполнения. Что следует сделать:
- Подготовить детальные чертежи и спецификацию по ГОСТу с указанием марки стали, покрытий, допусков.
- Указать приоритет: срочно/обычно/эконом.
- По возможности выбрать типовые исполнения по ГОСТу, доступные на складе.
- Согласовать использование складских заготовок или ближайших эквивалентных марок сталей.
- Договориться о пакетных опциях: завод выполняет механическую обработку, цинкование и отгрузку.
- Предусмотреть оплату поэтапно или предоплату – многие заводы ускоряют выполнение при частичной предоплате.
Главное – найти ответственного поставщика, готового выполнить заказ точно в срок.
